Varaosat 275 hv

Varaosat 275 hv

Lue lisää
Lue vähemmän

Moottorit

Tuotteet & räjäytyskuvat

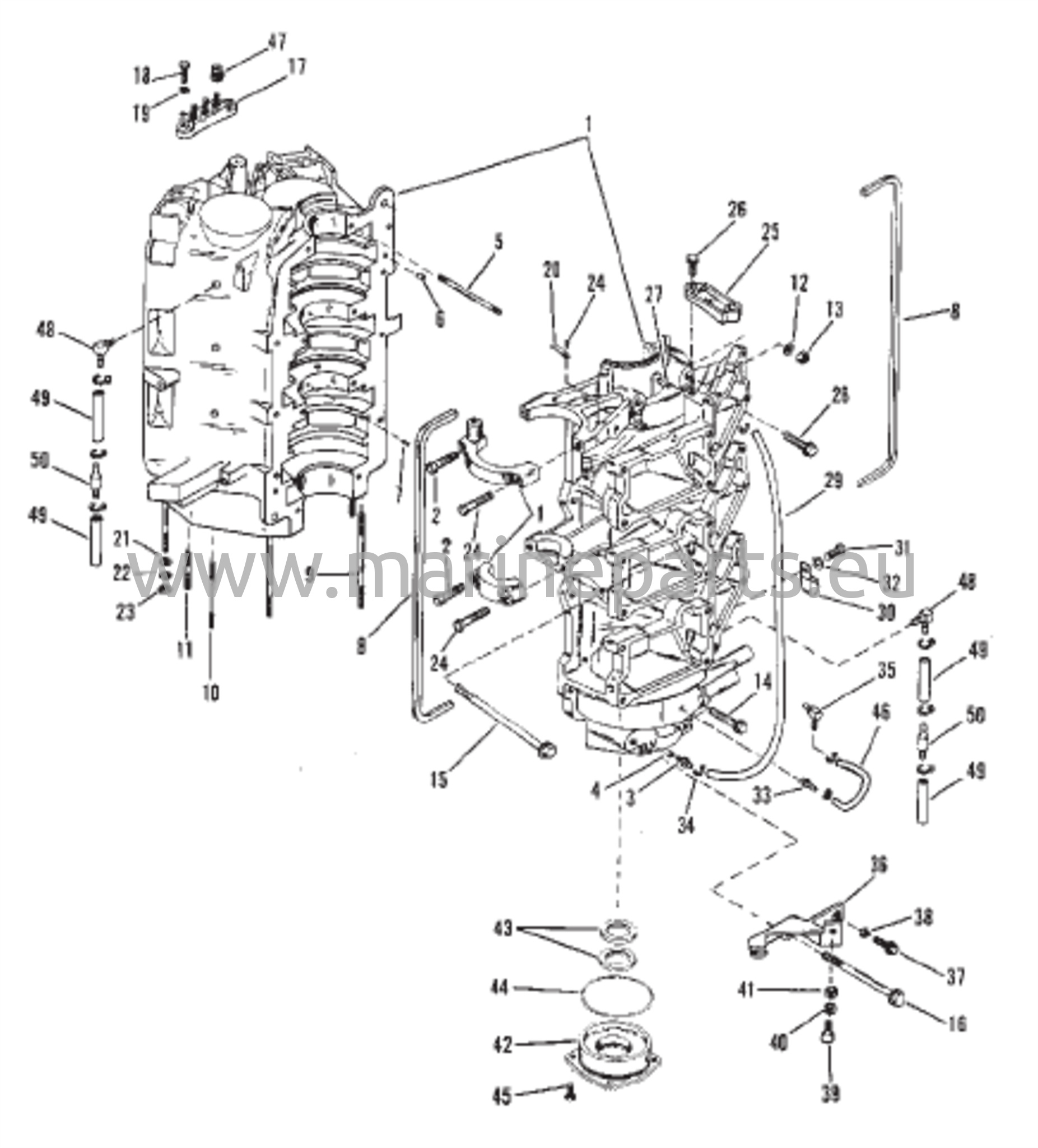
Pakopelti
Reference no. 814697 12

Tilaa Marineparts-uutiskirje

Tilaa uutiskirjeemme täältä ja saat uusimmat uutiset ja ylläpitovinkit moottorillesi.
Käsittelemme henkilötietojasi noudattaen Tietosuojakäytäntömme
Marineparts
4.6 yhteensä 5 sivuilla Reco.se
© Kaikki tämän verkkosivuston materiaali kuuluu Marinepartsille eikä sitä saa käyttää ilman kirjallista lupaa.
Pidätämme oikeuden korjata mahdolliset kirjoitusvirheet nykyisissä hinnoissa ja tuotteiden tiedoissa.