Parts Catalog Mercury/Mariner XR-4 / MAGNUM II 2.4 ltr. V6 2-stroke
Alapanssari
Kaasutinkokoonpano
Kurkunlevy ja kaasuvivut
Kampiakseli, männät ja kiertokanget
Sylinterilohko ja päätykannet
Voimansiirron kotelo ja pakoputki
Pakoputken keräin ja pakolevy
Vauhtipyörä/Käynnistinmoottori
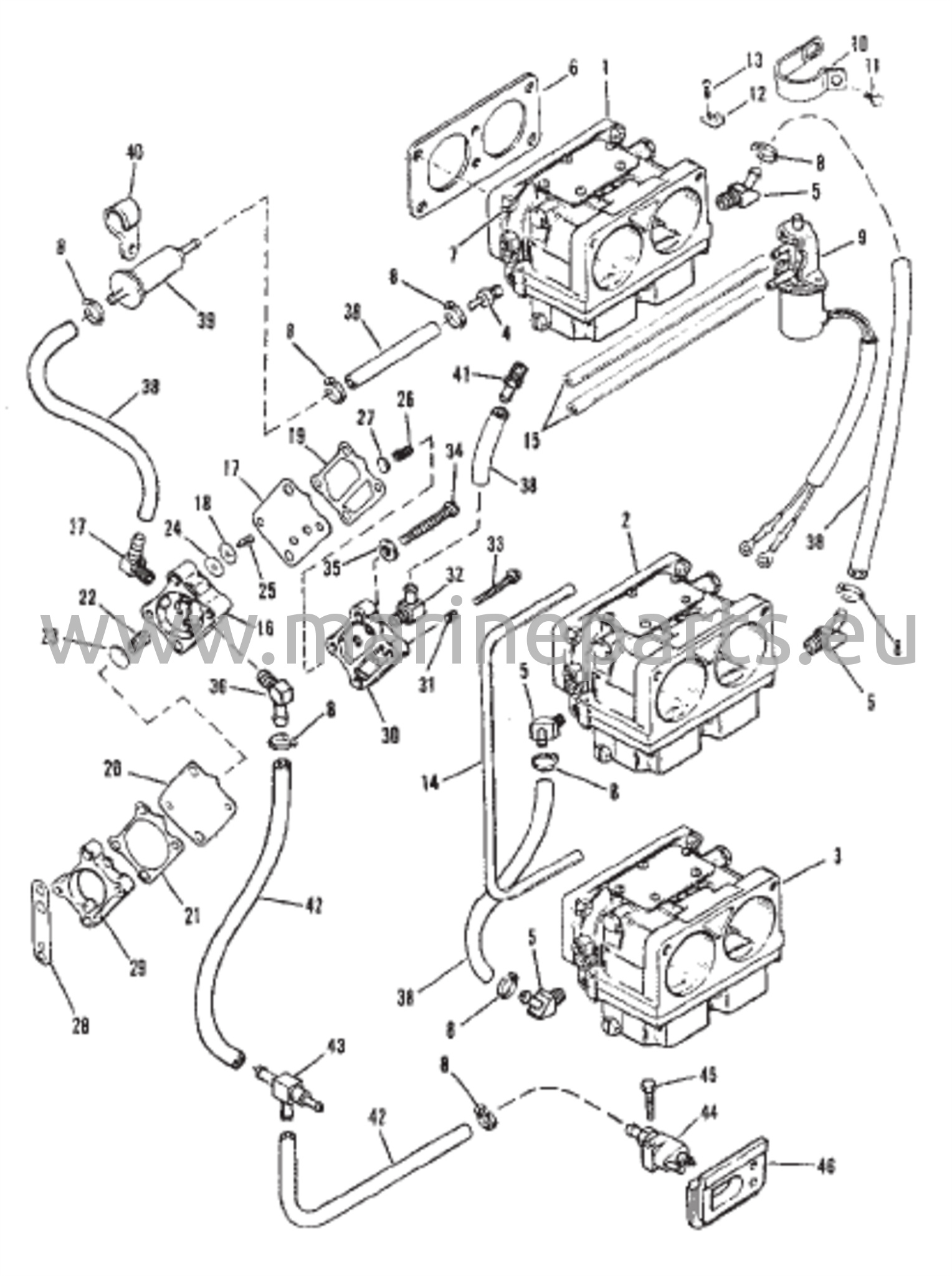
Polttoainepumppu ja kaasutin
Vaihteiston kotelo (voimansiirron akselin valukappaleen numero on 1655-9572C)
Vaihteiston kotelo (voimansiirtoakselin valukappale # is1674-814247C)
Vaihteiston kotelo potkurin akselille – valunumero on 1655-9572C
Vaihteiston kotelo potkurin akselille - valukappaleen numero on 1674-814247C
Sytytyspuola/Jännitteensäädin
Mittauslaitteisto
Öljynruiskutusosat
Voimansiirron trimmauskomponentit
Tehohydraulipumppu (Power Trim Pump)
Kielilohko ja sylinterikansi
Käynnistinmoottorin kokoonpano
Kaasukahva ja vaihdevipu
Kääntökiinnike ja ohjausvarsi
Yläkuomu ja etusuoja
Peräpeilikiinnike
Johdotussarja/käynnistinrele