Parts Catalog Mercury/Mariner V-135 & V-150 hp 2-stroke V6
Alapanssari
Kaasutinkokoonpano
Kurkunlevy ja kaasuvivut
Kampiakseli, männät ja kiertokanget
Sylinterilohko ja päätykannet
Voimansiirron kotelo ja pakoputki
Kaksoismoottorin jatkosarja
Pakoputken keräin ja pakolevy
Vauhtipyörä ja käynnistinmoottori
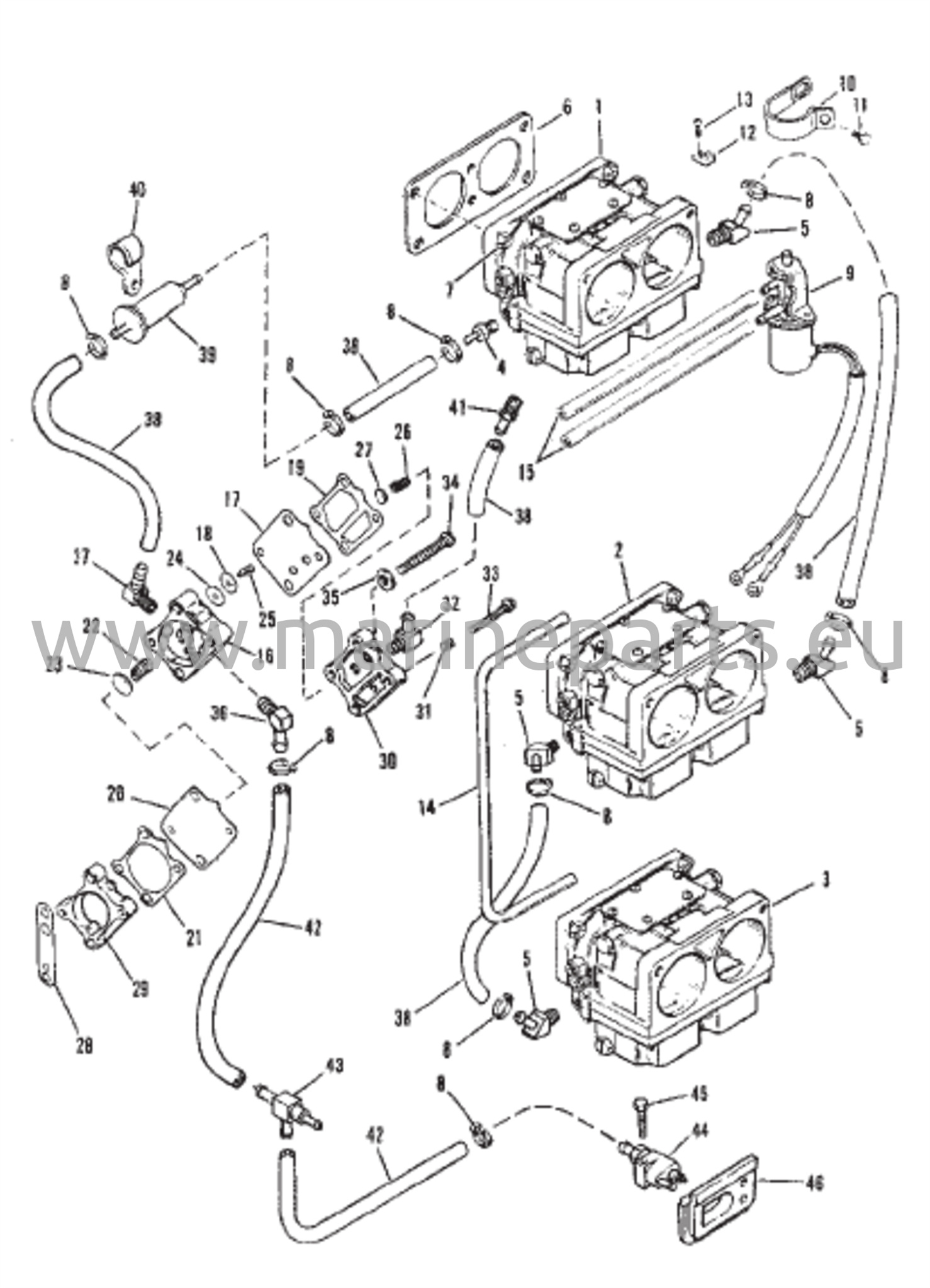
Polttoainepumppu ja kaasutin
Vaihteiston kotelo (Vetotapa – vakio/vastakierto)
Vaihteiston kotelo potkurin akselille - Vastakierto
Sytytyspuola/Jännitteensäädin
Vaihteiston kotelo potkurin akselille - vakiorotaatio
Mittauslaitteet (Mercury ja Mariner)
Avainkytkin (vastapäivään pyörivät moottorit)
Öljynruiskutusosat
Voimansiirron trimmauskomponentit
Tehohydraulipumppu (Power Trim Pump)
Kielilohko ja sylinterikansi
Sähkömoottori käynnistimeen
Kääntökiinnike ja ohjausvarsi
Kaasukahva ja vaihdevipu
Yläkuomu ja etusuoja
Peräpeilitelineet
Johdotussarja/käynnistinrele