Parts Catalog Mercury/Mariner 55 & 60 hp 3 cyl. 2-stroke (including Bigfoot)
Attenuator Plate
Kaasutin
Puristuskiinnikkeen kiinnikeohjeet
Konepeite
Kampiakseli, männät ja kiertokanget
Sylinterilohko
Voimansiirron akselikotelo
Sähkökomponentit
Pakopelti
Laajennusosat
Vauhtipyörän ja staattorin käsikirja
Kiertokanki ja staattori sähköinen
Sähköinen polttoainepumppu
Polttoainepumpun käyttöohje
Vaihteiston kotelo voimansiirtoakselille - 1,64:1 vaihde-ero
Vaihteiston kotelo voimansiirtoakselille - 2,31:1 vaihde-suhde
Vaihteiston kotelo potkurin akselille - 1,64:1 vaihdekerroin
Gear Housing Propeller Shaft - 2.31:1 Gear Ratio
Induktiokollektori ja kalvolohko
Suuttimen osat
Suuttimipumpun kokoonpano
Käsikäyttöiset kallistusosat
Öljynruiskutusosat
Voimansiirron trimmin osat
Recoil Starter Manual
Sähkömoottori käynnistimeen
Ohjaustangon sarja
Ohjaustangon sarja
Kääntötuki
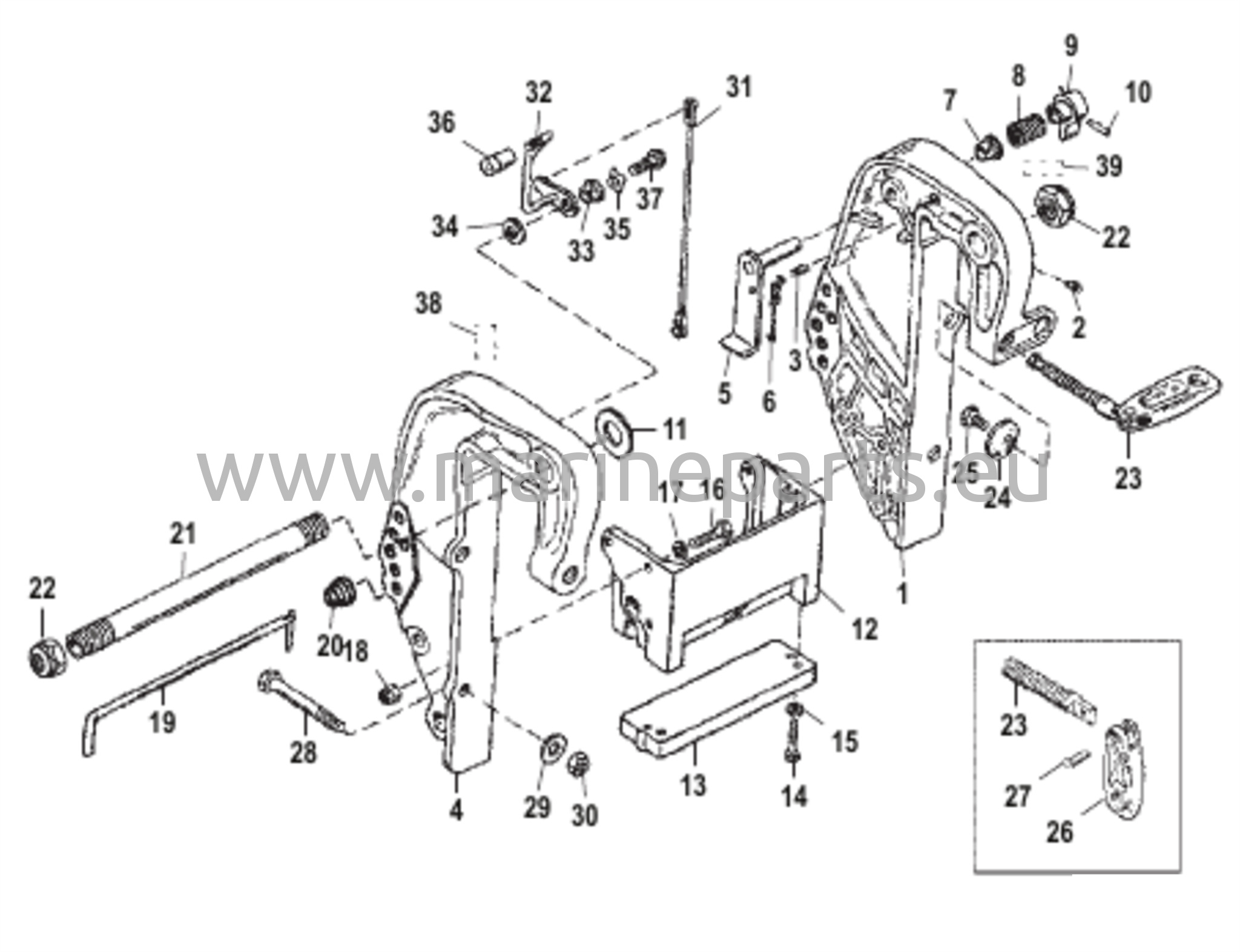
Kaasuvivun ja linkityksen räjäytyskuva
Sähköinen peräpeilirauta