Parts Catalog Mercury/Mariner 35 hp 2 cyl. (2-stroke)
Auto-Sekoittaja
Alapeltikansi ja pakopelti
Kaasutinkokoonpano
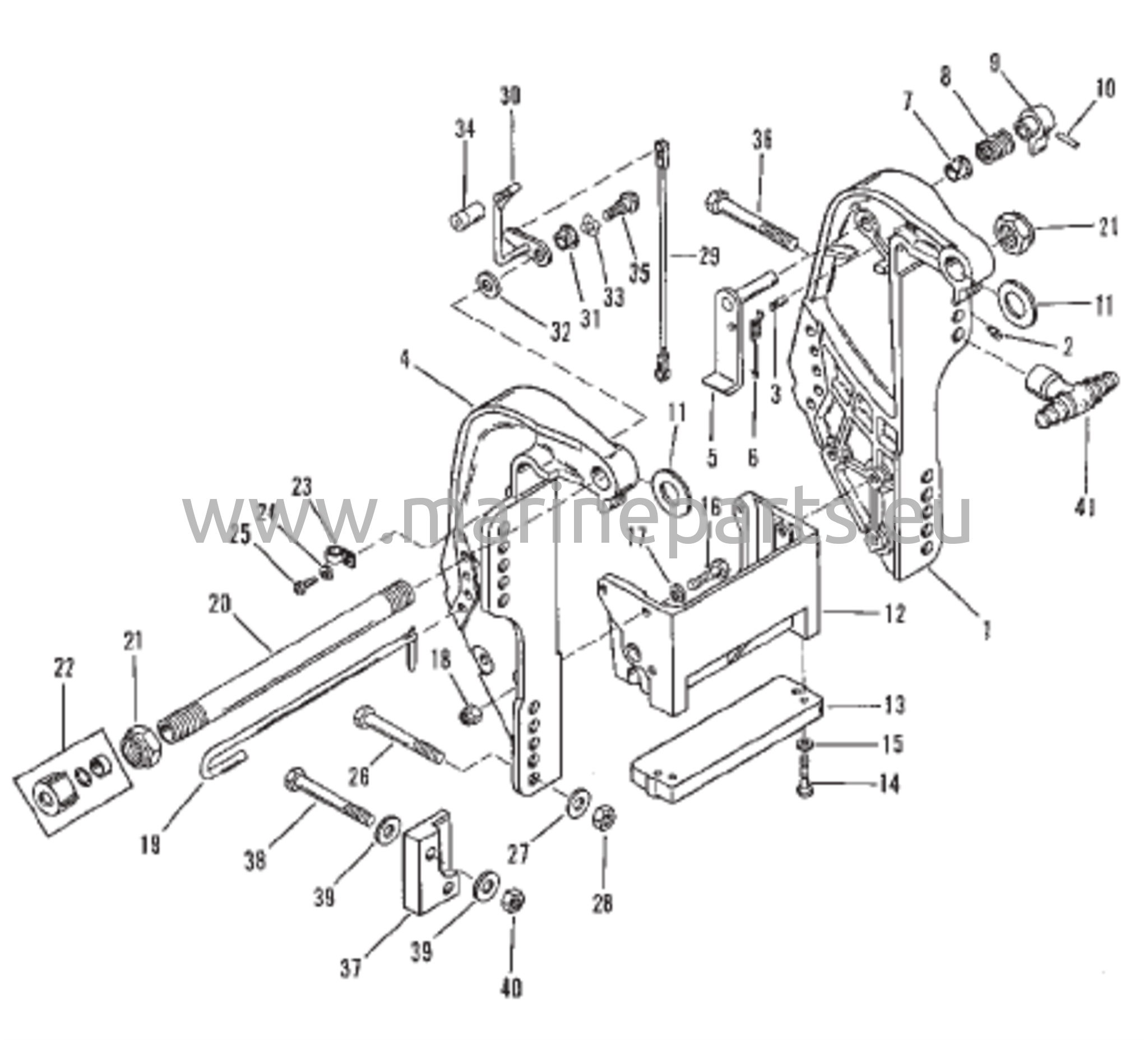
Puristin/Kääntökiinnike (Lyhyt) (Pitkä-0C159199 ja alempi (NPT))
Kampiakseli, männät ja yhdysvarret
Sylinterilohko ja termostaatti
Sylinterilohko Kampikammio ja Kansiot
Voimansiirron kotelo (pitkä akseli) (0C159200 ja uudemmat)
Voimansiirron akselikotelo (lyhyt) (pitkä - 0C159199 ja sitä alemmat)
Polttoaine Ctric -korjaussarjan osat (pitkä akseli) (0C159200 ja siitä eteenpäin)
Kiertokanki, Sytytyspuola ja Kytkinlaatikko
Polttoainepumppu
Vaihteiston kotelo (voimansiirtoakseli)
Manuaalisen kallistuksen osat (pitkä akseli) (0C159200 ja siitä eteenpäin)
Vaihteiston kotelo (potkurin akseli)
Power Trim -osat (0C159199 ja sitä alemmat)
Voimansiirron trimmauspumppu (Eaton suorakaiteen muotoinen moottori - 0C159199 ja sitä alemmat)
Vaihteenvalitsimen ohjausmekanismi
Sähkömoottori, tasasuuntaaja ja johdotussarja (sähköinen)
Käynnistinmoottorin kokoonpano
Käynnistimen kelan palautus
Ohjauskahva
Kääntökiinnike (pitkä akseli) (0C159200 ja uudemmat)
Kääntyvä kiinnike (Power Trim) (0C159199 ja sitä alemmat)
Kaasukahvan ja sytytyksen ennakoinnin vipuyhdistelmä
Yläsuoja ja suojakuori
Peräpeili (pitkä akseli) (0C159200 ja siitä eteenpäin)
Ansom-tuki (voimansiirron trimmi) (0C159199 ja alemmat)