Mercury/Mariner 8/9.9 (209CC) 4-stroke
Kiinnityssarja - ohjausvarren tanko 17024A03
Kaapelin liitinsetti 898289A20
Nokka-akseli ja öljypumppu
Kaasukarbi 0R676745 ja sitä alemmat
Kaasukarbi 0R676746 ja siitä ylöspäin
Puristinkiinnikkeet ilman sähköistä kallistusta
Jarrukiinnikkeet tehopihtitoiminnolla
Muutossarja 895284A01
Muutossarja 895284A02
Konepeitto SN 0R548600 ja sitä alemmat
Konepeite SN 0R548601 - 0R734915
Konepeite SN 0R734916 ja siitä eteenpäin
Nokka-akseli, männät ja kampikanget 0R310614 ja sitä alemmat
Kampiakseli, männät ja yhdysvarret 0R310615 ja sitä uudemmat
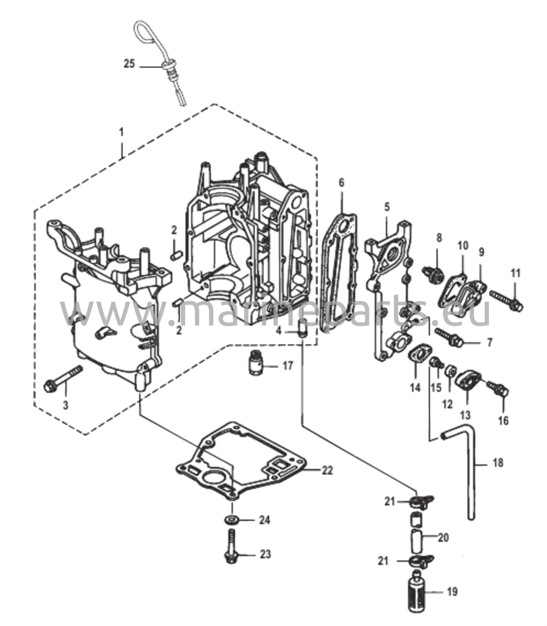
Sylinterilohko
Sylinterikansi
Tarrat SN 0R548600 ja sitä alemmat
Tarra- ja merkintäsarjat SN 0R548601 – 0R734915
Tarrat SN 0R734916 ja siitä eteenpäin
Vetoakselin kotelo
Voimansiirron akselikotelo Komento Työntövoima
Sähkökäynnistimen muuntosarja 895298A01
Sähkökomponentit Sähkökäynnistysmallit
Polttoainesäiliö
Vaihteiston kotelo vetoakseli
Vaihteiston kotelo vetoakseli - Command Thrust
Vaihteiston kotelo potkurin akselille
Vaihteiston kotelo potkuriakselille - Command Thrust
Sytytyskomponentit
Imu- ja pakoventtiilit
Imusarja ja polttoainepumppu
Sähköinen kallistusosat
Käynnistimen vetolaite
Vaihteiston osat
Vaihdekomponentit Komento Työntövoima
Starttimoottorin osat 803835T02
Käynnistinmoottorin osat 8M0223446
Kääntökiinnike ilman voimansiirtoa kallistukseen
Kääntökiinnike voimansiirron kallistukselle
Kaasu-/Vaihteensiirtoyhdistelmä 9,9 Etäohjattavat mallit
Ohjauskahva
Tiller-ohjaimen muuntosarja 8/9,9 hv manuaali 896289A01
Kääntökahvan muuntosarja 9,9 hv sähkö - 8M0051063
Peräsinkahvan muuntosarja 9,9 hv sähkö - 8M0051064
Tiller-kahvan muuntosarja 9,9 hv sähkö - 8M0051066
Keulamoottorin ohjaustangon muuntosarja 9,9 hv sähköinen 889246A86
Ohjaustangon muuntosarja 9,9 hv sähkömoottoriin 896289A02
Sähköisen 9,9 hv peräsinkahvan muuntosarja 889246A79