Mercury/Mariner 40 ITALY/45 BODENSEE 50/50 BIGFOOT 4-STROKE
Sovituslevy
Alakopanpeite
Nokka-akseli/Öljypumppu
Kaasukarbi (40/50)
Kaasutin (45)
Kaasukarbiinivivusto
Kampiakseli/ männät ja yhdysvarret
Sylinterilohko
Sylinterikansi
Vetopyörän kotelo
Sähkökomponentit
Vauhtipyörä
Polttoainepumppu
Vaihteiston kotelo voimansiirtoakselille - 1,83:1 vaihde-suhde - Ei Bigfoot-malliin
Vaihteiston kotelo potkurin akselille - 1,83:1 vaihde-suhde - Ei Bigfoot-malli
Vaihteistokotelo Vetopyöräakseli - 2,31:1 Vaihde-suhde - Bigfoot
Linkitys Ei-Bigfoot
Manuaalisen kallistuksen osat
Voimansiirron säätökomponentit
Sähköstarttimoottori
Ohjausvarsi
Kääntyvä kiinnike
Tukivivun kahva
Yläkuomu
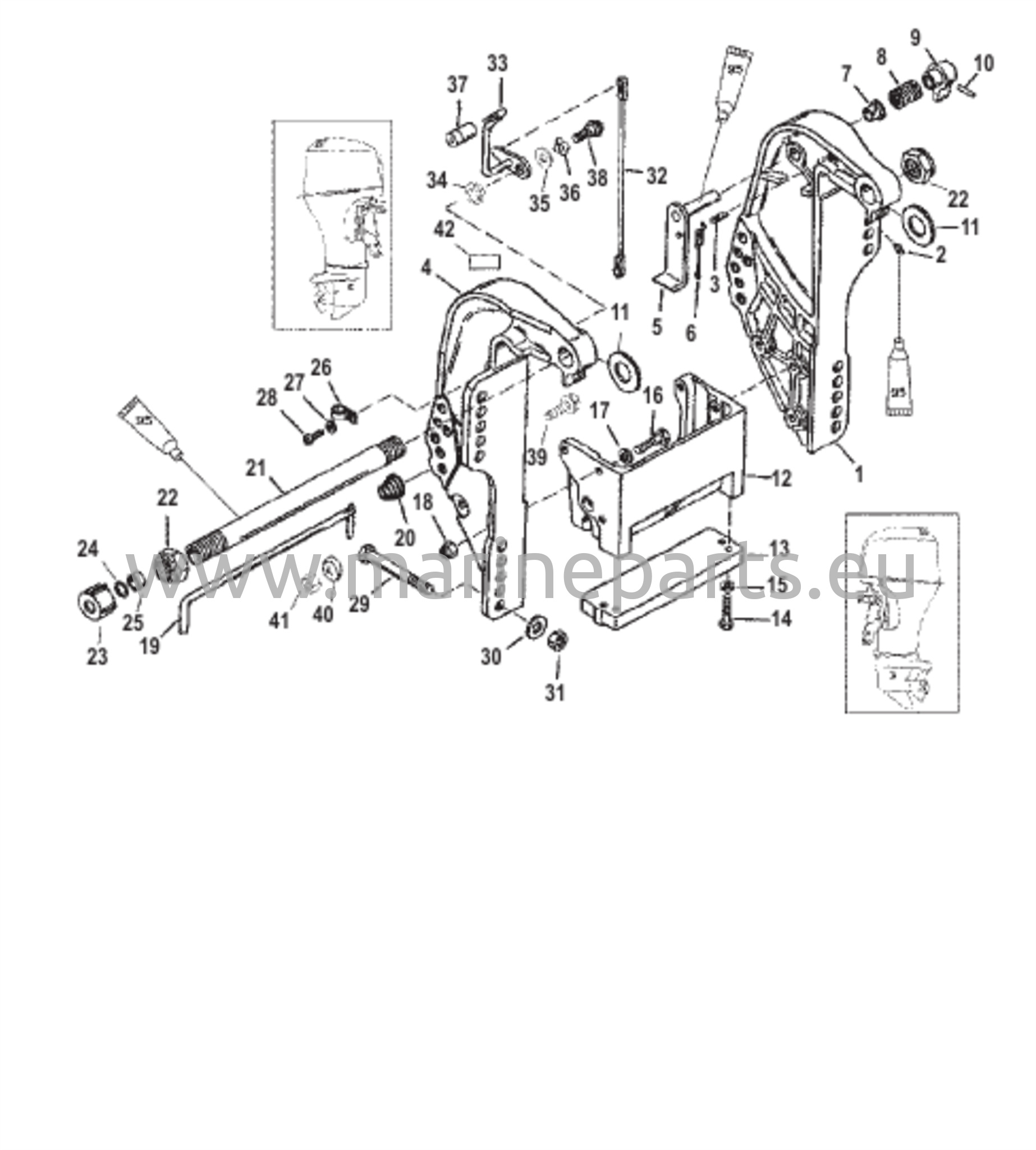
Peräpeilin kiinnike
Trim-kytkinpaketti
Linkage Bigfoot (liitososa Bigfoot)
Imu
Vaihteiston kotelo potkurin akselille - 2,31:1 vaihde-suhde - Bigfoot
Imu-/Pakoventtiilit