Honda BF115D [13ZX1B01]
Sylinterikannen suojus
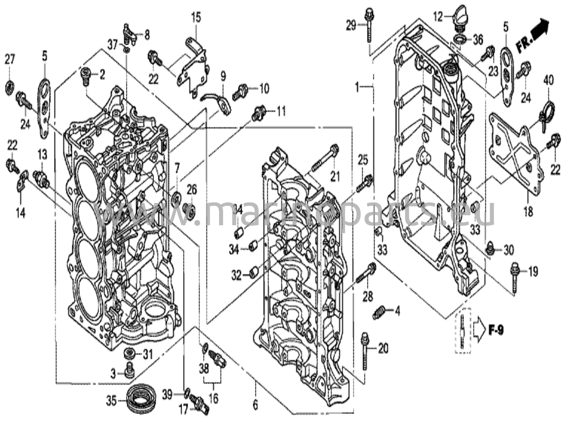
Moottorilohko
Pakoputki
Vesiletku
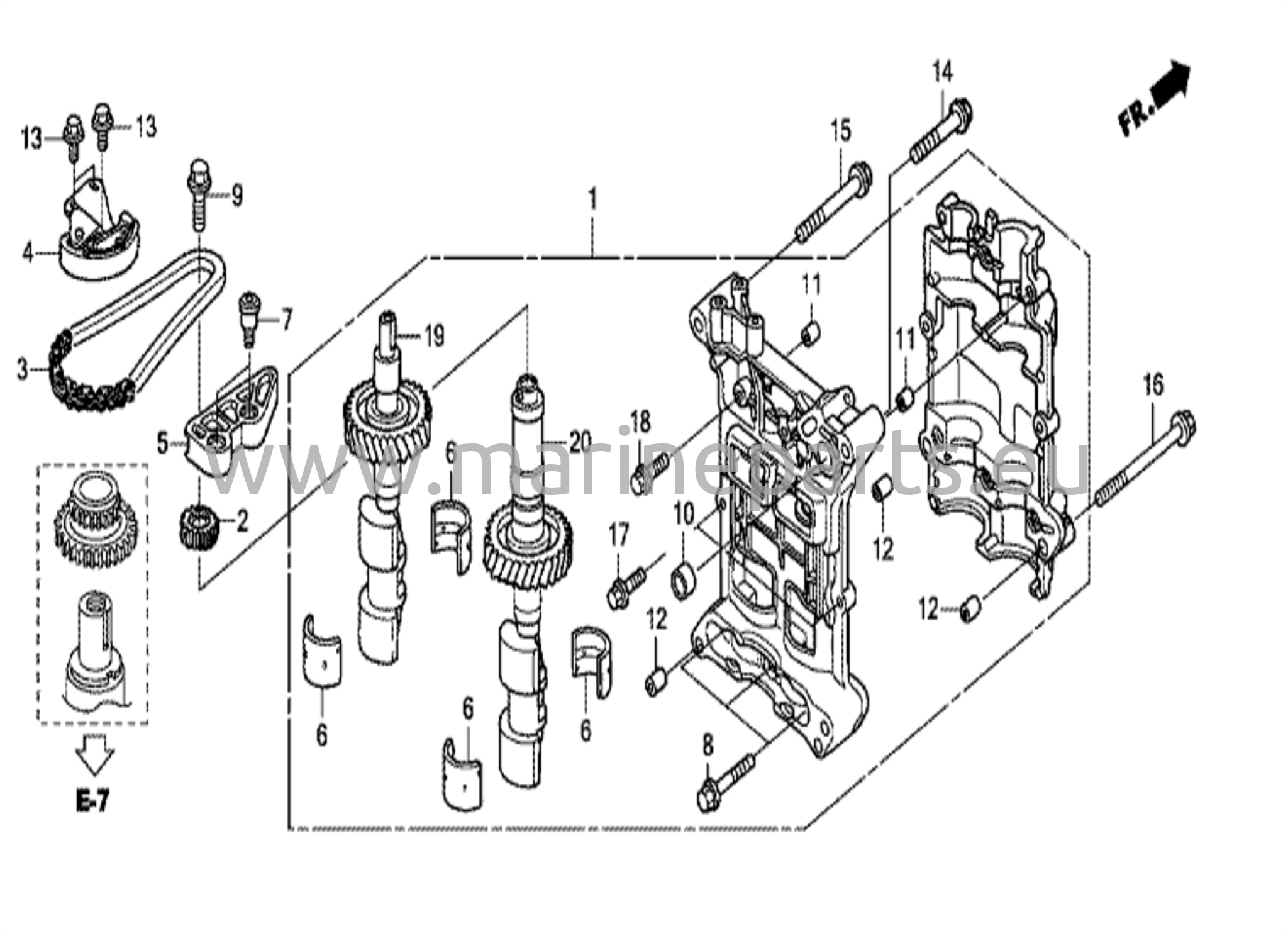
Öljypumppu/kehtopyörä
Öljypohja
Kampiakseli/mäntä
Nokka-akseli/venttiilikoneisto
Ketjukotelo/termostaatti
Sylinterikansi
Tasapainoakseli
Laturin hihna ja äänenvaimennuskanava
Imusarja/suutin
Kaasukahva
Polttoainepumppu/polttoaineletku
Veden erotin
Höyryn erotin kokoonpano
A.C. generaattori
Sytytyspuola/sytytystulppa
Elektroninen ohjausyksikkö (ECU)
Sähköstarttimoottori
Tiivistesarja
Vaihtovipu
Vaihteiston kotelo
Vaihteiston kotelon kokoonpano
Laajennuskotelo
Vesipumppu-yksikkö ja pystysuora vetoakseli
Potkuriakseli/potkuri (LD/LU/XD/XU)
Potkuriakseli/potkuri (XCD)
Polttoainesäiliö ja polttoaineputki
Johdotussarja
Käynnistyskaapeli
Sulakerasia/rele
Puristin
Moottorin suojakotelon kokoonpano
Etukannen tuki/etulukko
Peitelevy
Kotelon kiinnike
Peräpeili/kääntökotelo
Voimansiirron kallistus ja trimmi
Tarrat/tarralaput
Työkalut
Nostovälineletkusarja
Mittari
Mittaristo sarja (analooginen)
Moottorin suojakansi
Kaukosäädin (Hi-Lex) (kahvan kansi = harmaa)
Kaukosäätimen suojuksen asennussarja
Kaukosäädin (NHK MEC) (kahvan kansi = kromi)
Kaapeli (yksittäinen)
Kaapeli (kaksinkertainen)
Ohjauspaneeli (1)
Ohjauspaneeli (2)
Kaukosäädin (yläkiinnitteinen yksittäistyyppi) (oikea)
Säätölevysetti trimmiä varten
Kaukosäädin (yläkiinnitys yksittäistyyppi) (vasen)
Kaukosäädin (yläasenteinen kaksoistyyppi) (oikea)
Kaukosäädin (yläkiinnitys kaksityyppinen) (vasen)
Kaukosäädin (uppoasennustyyppi) (oikea)
Kaukosäädin (uppoasennustyyppi) (vasen)
Ohjauspaneeli (1)
Vesipumpun siipipyöräsarja (1)
Vesipumpun siipipyöräsarja (2)
Liitäntäkaapelisarja
Trolling-ohjauskytkin
Nopeusanturin putkisarja
Vaihteiston kotelosarja